在线询价
产品展示

Product

首页 > 产品展示
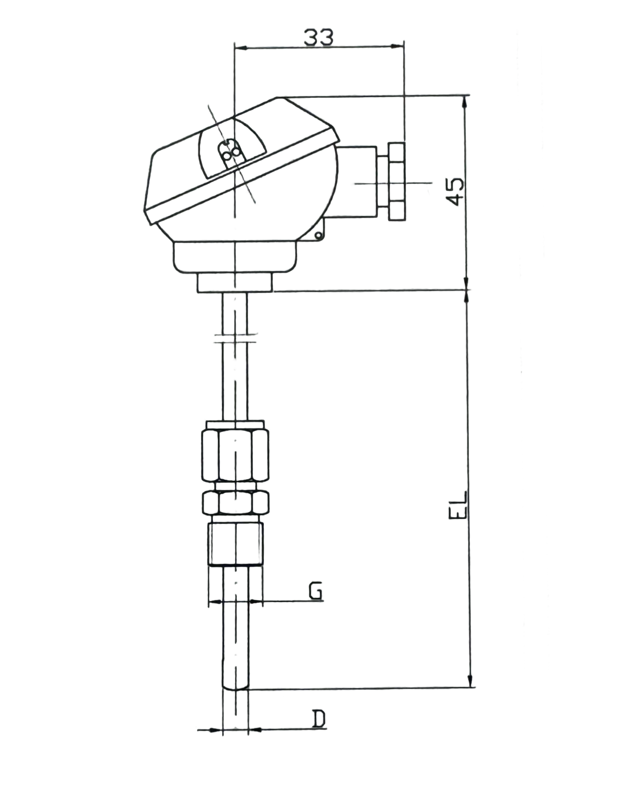
J型接线盒热电偶 价格:

测温范围-200~800℃
可提供单支或双支热电偶
多种过程连接方式可选,满足不同场合应用接线盒内可带温度变送器
根据实际测温范围选择不同材质偶芯适用于气体、液体的温度测量

应用
燃料锅炉塑料工业干燥机械、热电联产机组
制药、食品、电力、冶金、玻璃、化工、橡胶和纺织等行业

技术数据
热电偶芯
镍铬―镍硅(K):-200~800°C
镍铬―铜镍(E):-200~800°C
铁―铜镍(J):-200~750°C
铜一铜镍(T):-200~350°C

在线询价
详细内容 规格参数 产品包装

6.jpg


J型接线盒热电偶选型表_已压缩.jpg

拧入式热电偶 无延长管(加变径型号8114).png卡套螺纹连接型_已压缩.jpg卡套螺纹连接型.png固定螺纹连接.png插入式热电偶 无螺母 无过程连接(加变径型号8118).jpg插入式热电偶 无过程连接(加变径型号8118).jpg